Future iPhones may sport interchangeable lenses, patent suggests
The current smartphone form factor has been standard for a while now. This means a sleek design, thin device and insanely high camera expectation from the industry.
To make it work, various phone makers have resorted to ingenious ways to make this work. Case in point, Huawei’s periscope telephoto lens. Well, Apple seems to have a solution.

As reported by Apple World Today, Apple has just filed a patent involving a lens attachment system for iPhone and iPads. According to the reports, Apple applied for this patent way back in 2017, and has now managed to get it.
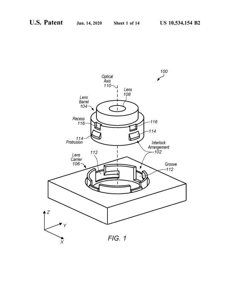
The patent (number 10,534,154) for “interlock arrangement for attaching a lens barrel to a lens carrier” will, at least in theory, make it easy for third-party lenses to be mounted onto the iPhone/iPad’s camera sensor.
Immediately, Moment Lenses come to mind. These guys have been in the industry for quite a while and have a bunch of lenses that paired with a capable smartphone camera, results in stunning results.

While filing the patent, Apple notes that the advent of small, mobile multipurpose devices such as smartphones and tablet or pad devices has resulted in a need for high-resolution, small form factor cameras for integration in the devices. Some small form factor cameras may include a lens barrel that is threaded so that it can be fastened to another camera component.
Apple further acknowledges that there have been attempts to achieve similar results. It notes that in some of these designs, the bond between the lens barrel and the other camera component may be fragile.
This is because the adhesive is often in tension and/or shear under some cases like in the event of a drop. This means the lens barrel tends to detach from the other camera component. Apple thinks that they have fixed this issue in the patented schematics.

The summary of Apple’s latest invention states that in some embodiments, the interlock arrangement may restrict the movement of the lens barrel relative to the lens carrier along at least an optical axis. In various examples, the interlock arrangement may include one or more grooves and one or more protrusions.
The patent also mentions voice-activated motors and processors. With this, a processor would bring an image up on the display of either an iPhone or iPad.
For more on this invention, or for detailed technical specifications of the new patent, visit this page.
NOTE: We have more Apple stories here.
PiunikaWeb started as purely an investigative tech journalism website with main focus on ‘breaking’ or ‘exclusive’ news. In no time, our stories got picked up by the likes of Forbes, Foxnews, Gizmodo, TechCrunch, Engadget, The Verge, Macrumors, and many others. Want to know more about us? Head here.